Preparation
Pre-cabling
It is prudent to consider the routing and protection of equipment cables prior to installation. Cable is best protected above the ground by the use of rigid electrical conduit (20 or 25 mm works best).
If the rear entry cable options are being used, cabling must be laid prior to the installation of the mounting post, extended up and through holes drilled in the post (via the pilot marks provided on the mounting bracket). Please see cable routing option 2 below for instructions.
Unpacking
The C3+ packing box is designed to allow parts to be removed from the box in the order in which they are needed. By leaving parts in their box until they are used, there is less likelihood that they will become lost, damaged, or soiled during installation.
C3+ Solar Enclosure Installation
Mounting
- Remove top packaging insert.
- Identify mounting bracket.
- Use four suitable screws to fix the mount securely to a wall stud (or similarly robust structure).
Cable routing option 1: Bottom entry
- Remove the Solar Enclosure from packaging and assemble to mount via tabs. The enclosure need not be held in place once on the mount (follow sequence 1-2).
- Extend the solar panel outward slightly and open the enclosure door.
- Remove the hardware pack.
- Place the enclosure on the mount and secure using the small thumb bolt and washer supplied in the hardware pack (Item 6).
- Rotate the solar panel to the desired angle (see this article). Lock in place by tightening the large thumb screw (Item 1 above).
- Install the large, M32 cable gland (supplied in the hardware pack) into the bottom- entry hole with the seal on the outer surface of the enclosure. (Item 8 above).
Cable routing option 2: Rear entry
- Select a drill with a diameter sufficient to accommodate the cable.
- Drill one or both cable entry holes through mount/pole/wall using pilot marks in mount as a guide (Item 3).
- Feed equipment cables up pole and through holes made above.
- After pole has been secured, remove solar enclosure from packaging, extend solar panel outward slightly, open door, and remove hardware pack.
- Drill one or both cable entry holes in rear of solar enclosure using pilots marks and 16 mm drill or hole-saw (Item 2).
- Install the supplied pierce-through cable gland(s), flat side facing outward (Item 3 above).
- Feed cable through cable glands as the enclosure is being assembled to the mount.
- Use the small thumb bolt and washer to secure the enclosure to its mount.
- Place the enclosure on the mount, and secure using the small thumb bolt and washer supplied in the hardware pack (Item 6 below).
- Extend solar panel out to the desired angle (see this article); lock in place by tightening large thumb screw (Item 1 above).
- Install the M32 plug (supplied in the hardware pack) into the bottom-entry hole, positioned with its seal on the outer surface of the enclosure.
Primary antenna mounting
- Remove primary antenna base from packaging and remove its slotted nut.
- Feed antenna cable through antenna mounting hole; ensure O-ring seal is on the outside face of the enclosure.
- Secure with slotted nut; note the orientation of the nut should be so its shoulder is facing upward, allowing the nut to center itself on the hole.
- Tighten with appropriate-sized wrench.
- Feed primary antenna cable behind mounting rail (Item 2) along with secondary antenna cables.
- If no primary antenna is to be fitted, the mounting hole must be sealed with the provided M16, button-head plug.
C3+ Module Installation
- Remove C3+ module box from packaging.
- Remove C3+ module from box; connect antenna cables as required
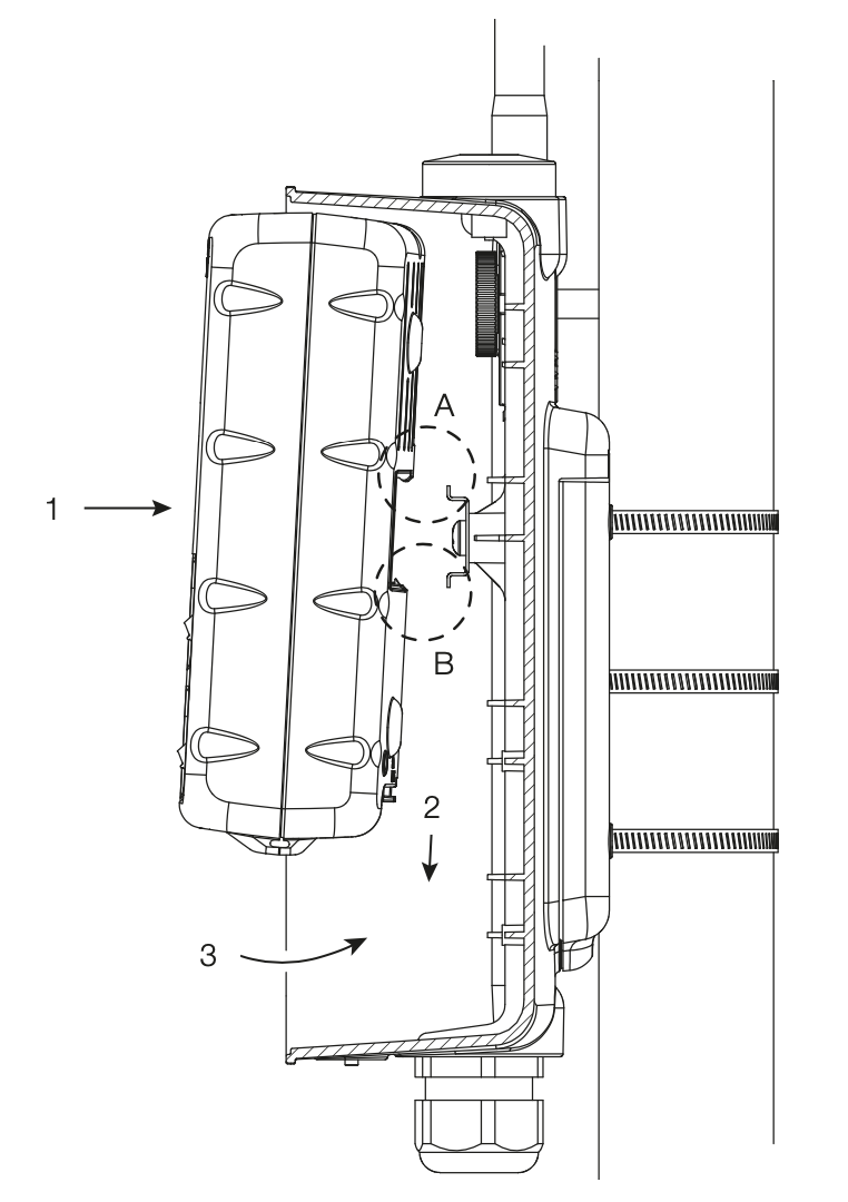
- Mount inside Solar Enclosure via pull tab and DIN rail mount. Proceed in order 1-2-3, hook over DIN rail at point A, clip at point B.
- Connect solar power cable to C3+ module power terminal (Item 8).
- Turn on the C3+ by momentarily pressing the touch button in the center of the unit (Item 3 above). If the module’s solar panel has been exposed to sunlight, it may have already turned on.
- The C3+ module is now ready for connection to sensors. See specific Technical Notes.
- Installation notes, wiring diagrams, and other documents may be stored in the Solar Enclosure via the note clip on the rear of the door.
- Cables may by secured with cable ties via the two tie points (Item 18 above).
- Remove bird deterrent from packaging (located below the box containing the C3+ Module). Affix the deterrent to the top of the solar panel by sliding it into the two slots. Be cautious of the sharp edges.